The alarm triggers when the computer does not detect the 'High Temperature OK' signal. Each Wash and Rinse tank has its own status input, which can be viewed on the Digital I/O screen. To check this, go to the Modules Menu, select 'Digital I/O,' and scroll down to locate the relevant input (shown below).

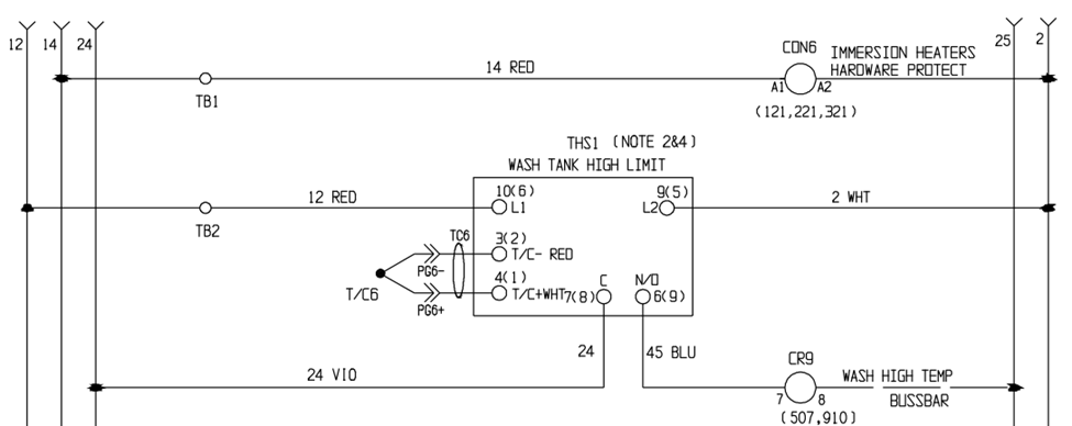
Each tank circuit includes a high-temperature device (THS) and a thermocouple (T/C) connected to a tank heater. When the thermocouple detects a temperature below the high limit, the device’s contacts remain closed. We send 24V DC through these contacts to energize a relay coil. Once energized, the relay’s contacts close, sending an active signal to the Digital I/O. If this signal is not detected, the software triggers a 'Heater High Temperature' alarm. Typical circuit is shown below.

Note: Some of the high temp devices will need to have power cycled to reset once they have tripped.

To troubleshoot, follow these steps: First, confirm the high-temperature device is powered and functioning by checking for 120V AC across wire #12 and wire #2. Next, verify the thermocouple is properly connected and producing a valid millivolt signal—note that an open thermocouple will register as a high reading. If these checks pass, the device’s contacts will be closed, allowing 24V DC between wire #24 and wire #25 to energize the relay coil. Once the relay is powered, its contacts will close, applying DC common (wire #25) to pin three of the I/O input. This will satisfy the computer, enabling the system to operate without triggering the alarm.